DIN Anschweißnippel für ISO-Rohr, Schweißende

Innere Oberflächenrauhigkeit von R 0,8 µ und mit einer Chargennummer versehen.
Mit Kragen zum Aufschweißen auf Milchrohre aus Edelstahl.

Hergestellt aus Edelstahl AISI 316L / EN 1.4404, ISO 2037.

Standard DIN 11851. 

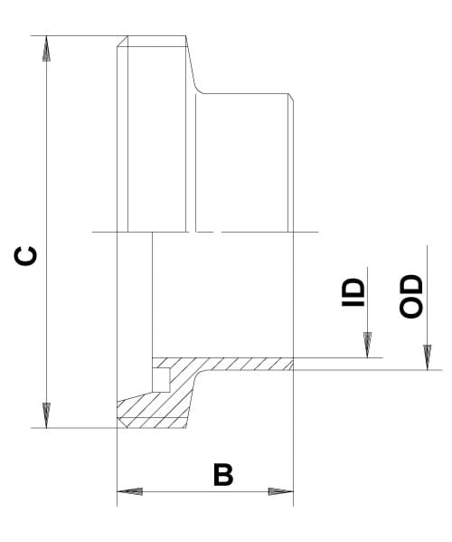
Artikelnummer Nominal Dim.
mm.
C Dm.
mm.
ID Ø Dia.
mm.
OD Ø Dm.
mm.
Länge B
mm.
Nettogewicht
kg.
Basiseinheit Anzahl
0101340250 25,0 / 1" 52,0 x 1/6" 22,6 25,6 29,0 0,150 Stck.
0101340400 40,0 / 1 1/2" 65,0 x 1/6" 35,6 38,6 33,0 0,250 Stck.
0101340500 50,0 / 2" 78,0 x 1/6" 48,6 51,6 35,0 0,340 Stck.
0101340650 65,0 / 2 1/2" 95,0 x 1/6" 60,3 64,1 40,0 0,560 Stck.
0101340800 80,0 / 3" 110,0 x 1/4" 72,9 76,7 45,0 0,420 Stck.
0101341000 100,0 / 4" 130,0 x 1/4" 97,6 102,5 54,0 1,160 Stck.
Falsche Produktdaten, Abweichungen bei Bildern/Videos sowie Preis- und Wechselkursänderungen vorbehalten.
Luk

Es dauert nur 1 Minute...

Luk
Einloggen

Ein Fehler ist aufgetreten!

Neues Passwort erstellen

Ein Fehler ist aufgetreten!

Wir haben Ihnen eine E-Mail zum Erstellen Ihres neuen Passworts geschickt. Bitte prüfen Sie auch den Spam-Ordner.